Products & Service

Clip III Split Type Fastener Plastic Sleeve

Source: DateTime: 2023-09-01

Function

The plastic sleeve with clip III split type fastener has advantages such as good pull-out performance, high insulation performance, good resistance against acid and alkali, long service life, and no need for maintenance. It is widely used in fastening systems that require insulation and replacement of fastening studs.

 

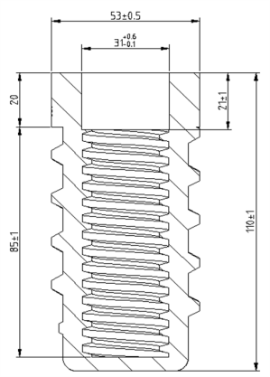
Major Specifications

 

Application Performance

Guangzhou Metro, Beijing Metro, Shanghai Metro, Shenzhen Metro, Chengdu Metro, Chongqing Metro, Xi'an Metro, Kunming Metro, Shenyang Metro, Harbin Metro, Wuhan Metro, Changsha Metro and other more than 30 urban subway projects.